Qingdao Ruichen Sealing Technology Co.、Ltd。
Qingdao Ruichen Sealing Technology Co.、Ltd。
ニュース

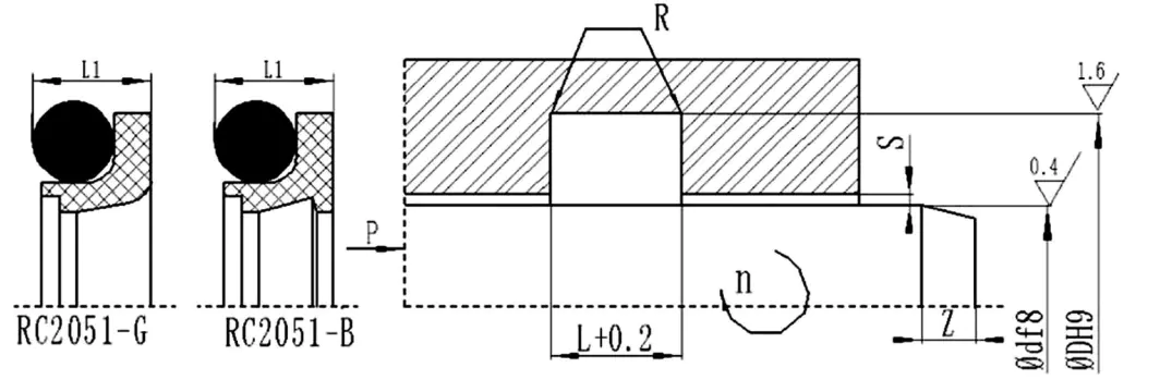
回転シャフト用のRC2051-B/Gギアの組み合わせシール

2025-03-08

このシールは、で満たされた歯付きシーリングリングで構成されていますPTFE素材Oリングラバーリング、油圧および空気圧の往復および回転運動の一元配置シーリングに適しています。それは、高い寿命、低摩擦、良好な密閉、小さな構造空間の特徴を持ち、水圧シーリングに使用できます。 RC2051-B(標準タイプ)およびRC2051-G(高速タイプ)に分割されます。 RC2051の特別なリップデザインは、空気圧の往復またはまたはロータリーシール.

材料の選択

1.一致するOリング材料を選択できます:R01ニトリルラバー(NBR)、R02 Fluorubber(FKM)など。

2。シーリングリング材料:標準材料PTFE4、その他のオプション材料PTFE1、PTFE2、PTFE3、PTFE5。


構造図



関連ニュース
X
We use cookies to offer you a better browsing experience, analyze site traffic and personalize content. By using this site, you agree to our use of cookies. Privacy Policy
Reject Accept