青島瑞辰シーリング技術有限公司
青島瑞辰シーリング技術有限公司
製品
X

TCオイルシール

回転軸リップシールは一般にオイルシールとして知られており、ベアリングハウジングに取り付けられ、回転軸に対して動きます。金属製の骨格がサポートを提供し、スプリングがシール リップに半径方向の予荷重を加えて、潤滑剤の漏れや外部汚染物質の侵入を防ぎます。

インストール構造と要件

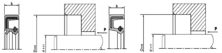
1. シャフト材質:炭素鋼とステンレス鋼が一般的に使用されます。高速対応のため、表面にクロームメッキを施しHRC40~45となります。

2. 回転シャフトと溝の設計: シャフトの表面は滑らかでバリがない必要があります。スパイラル加工跡はポンピング効果を生み出し、漏れを引き起こす可能性があります。オイルシール取付部の表面粗さはRa0.1~0.5μm程度に研削し、回転数が上がるほど滑らかになるようにすることを推奨します。 取り付けと分解を容易にするために、シャフトと溝は面取りまたは丸みを帯びたエッジで設計する必要があります。図 1 および 2 を参照してください。

シール高さ

b

b1(0.85xb)

mm

b2(b+0.3)

mm

r

最大。

7

5.95

7.3

0.5

8

6.80

8.3

0.5

10

8.50

10.3

0.5

12

10.30

12.3

0.7

15

12.75

15.3

0.7

20

17.00

20.3

0.7

図 1. 溝の面取り設計


d

d3

R

<10

d-1.5

2

10~20

d-2.0

2

20~30

d-2.5

3

30~40

d-3.0

3

40~50

d-3.5

4

50~70

d-4.0

4

70~95

d-4.5

5

95~130

d-5.5

6

130~240

d-7.0

8

240~500

d-11.0

12

500~800

d-14.0

14

800~1250

d-18.0

16

図2 回転軸の面取り設計


回転軸リップシールの性能を左右する要因 

密閉効果に影響を与える要因は数多くあります。オイルシール自体の材質や構造のほか、媒体、温度、圧力、潤滑、速度、表面粗さなどの要素もシール効果に直接影響し、これらの要素は相互に影響し合います。次のグラフはユーザーの参考のみを目的としています。

図 3. オイルシールに対する温度の影響


取り付け: オイルシールが適切に機能するには、慎重に取り付けることが前提条件です。

設置図(キャビティ設置)

正しい取り付け方法

適用される労働条件

間違ったインストール方法

この方法はオイルシール端面とキャビティ端面が面一の場合にのみ適用できます。プレス装置が高速で作動する場合、オイルシールを正確な位置に配置する必要があります。そうしないと、位置ずれが発生する可能性があります。

 

オイルシール端面がキャビティ端面よりも低い場合に適した設計です。素早く押し込んでもオイルシールの位置決めは良好です。しかし、このタイプの治具は径方向の位置決めができないため、加圧装置の平板と加圧シャフトの軸方向の直角度はある程度の精度が必要となります。

オイルシール端面がキャビティ端面より低い場合に適した方法です。機器を素早く押し込むときは、オイル シールが正しい位置にあることを確認することが重要です。そうしないと、位置ずれが発生する可能性があります。


 

 


この方法は、圧力機器が使用できないメンテナンスまたは簡単な設置条件にのみ適しています。取り付け時に完全に均一なプレスを実現することはできないため、さまざまな取り付け上の問題が避けられません。組み付け時のラジアル方向のズレによるオイルシールの変形や、組み付け時の一時停止によるオイルシール嵌合部(外周部)のゴムの損傷を防止することを主目的としています。したがって、このインストール方法は通常は推奨されません。

 

TC/SC/TB/SB オイルシール

どちらも金属フレーム、スプリング、ゴムボディで構成されています。金属フレームがサポートを提供し、スプリングがシール リップに半径方向の力を加えます。 TC、TB両モデルには防塵補助リップが付いており、片面にシール剤が付着し、もう片面に塵埃が付着する用途に適しています。 TB/SBモデルは金属製の外周を備えており、キャビティ内でのオイルシールの安全性と精度が向上しています。ただし、低粘度のガス状媒体の場合、外側の円のシール能力は制限されます。したがって、設置および使用中に外周にシーラントを塗布することをお勧めします。

断面形状

モデル

応用

プレッシャー

温度

スピード

中くらい

材料

TC

密閉性、防塵性

0.03MPa

-30~+160

20m/秒

潤滑油およびグリース

NBR/FKM+炭素鋼

SC

シーリング

結核

密閉性、防塵性

-30~+100

25m/秒

水、潤滑油、グリース

NBR+炭素鋼

SB

シーリング

注文型式 TC-d*D*b

仕様

仕様

仕様

仕様

仕様

仕様

仕様

TC-6*17*3.5

TC-9*25*7

TC-10*30*7

TC-12*25*10

TC-13*25*7

TC-14*32*8

TC-15*30*7

TC-7*18*7

TC-10*18*7

TC-11*22*7

TC-12*26*7

TC-13*26*7

TC-14*32*10

TC-15*30*8

TC-8*18*7

TC-10*19*7

TC-I1*25*7

TC-12*28*7

TC-13*28*7

TC-14*35*7

TC-15*30*10

TC-8*20*7

TC-10*20*5

TC-11*30*10

TC-12*28*8

TC-13*30*8

TC-14*35*8

TC-15*32*7

TC-8*22*7

TC-10*20*7

TC-12*19*3

TC-12*30*7

TC-14*24*7

TC-14*40*7

TC-15*32*10

TC-8*22*8

TC-10*22*5

TC-12*20*7

TC-12*30*10

TC-14*25*7

TC-15*22*8

TC-15*35*7

TC-8*25*7

TC-10*22*7

TC-12*21*7

TC-12*32*7

TC-14*26*7

TC-15*24*7

TC-15*35*8

TC-8*25*8

TC-10*22*8

TC-12*22*5

TC-12*32*10

TC-14*27*7

TC-15*25*5

TC-15*35*10

TC-8*30*7

TC-10*22*10

TC-12*22.5*5.5

TC-12*35*7

TC-14*28*7

TC-15*25*7

TC-15*38*7

TC-9*16*5

TC-10*24*7

TC-12*22*7

TC-12*35*10

TC-14*28*8

TC-15*25*8

TC-15*38*8

TC-9*18*7

TC-10*25*5

TC-12*22*8

TC-12.7*22.22*5

TC-14*28*10

TC-15*26*7

TC-15*38*10

TC-9*19*7

TC-10*25*7

TC-12*24*6

TC-12.7*25.4*7

TC-14*29*7

TC-15*27*7

TC-15*40*8

TC-9*20*7

TC-10*25*10

TC-12*24*7

TC-12.7*26*8

TC-14*30*7

TC-15*27*8

TC-15*40*10

TC-9*22*7

TC-10*26*7

TC-12*25*7

TC-12.7*30*8

TC-14*30*10

TC-15*28*7

TC-15*42*7

TC-9*24*7

TC-10*28*7

TC-12*25*8

TC-13*23*7

TC-14*32*7

TC-15*28*10

TC-15*42*8

 




ホットタグ: TCオイルシール
お問い合わせを送信
連絡先情報
競争力のある価格、技術サポート、高速な対応を取得します。仕立てられたシーリングソリューションについては、仕様をRuichenに送信してください。利用可能な無料サンプル。
X
当社は Cookie を使用して、より良いブラウジング体験を提供し、サイトのトラフィックを分析し、コンテンツをパーソナライズします。このサイトを使用すると、Cookie の使用に同意したことになります。 プライバシーポリシー
拒否する 受け入れる