当社の高圧回転シールシリーズは、RC2051、RC2052、RC2053、RC2054、RCX17、RCX18、RDI、RDA、RCS、RC2057など、さまざまな高性能製品をカバーしています。
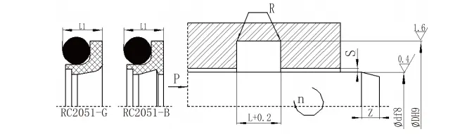
RC2051シリーズでは、片道シーリングに充填されたPTFE歯付きシールリングとOリングの組み合わせを使用しています。摩擦が低く、シーリング特性が高く、標準タイプ(RC2051-B)および高速タイプ(RC2051-G)に分割されます。
RC2052およびRC2054シリーズには、油圧回転式の双方向シーリングに適したオイル貯蔵溝付きの四角いシールリングが装備されています。構造はコンパクトで、水圧環境をサポートしています。
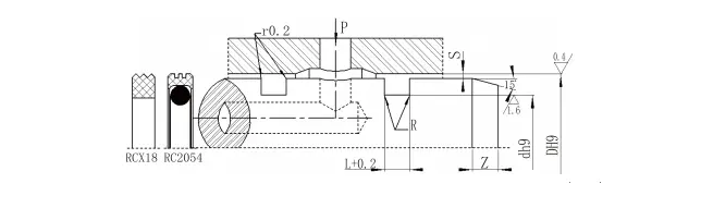
RCX17およびRCX18シリーズは、高性能PU材料で作られており、歯付きの断面設計を備えた設置を容易にします。それらはロータリーシャフトと回転穴シーリングに適しており、溝のデザインは交換可能です。
RDIおよびRDAシリーズは、PTFEシーリングリング、L字型のプラスチックサポートリング、Oリングで構成されています。これは、高圧、低速、回転双方向シーリング、高圧抵抗、低摩擦、長寿命に適しています。
RCSシリーズPTFE発電オイルシールには、金属製のスケルトンとPTFEシーリングリップが含まれています。これは、複雑な労働条件に適しています。
RC2057シリーズフルPTFEオイルシールは、従来のオイルシールが満たすことができない特別な機会のために設計されています。
RC2065シリーズは、シンプルな構造と簡単な設置を備えた、回転シャフト用の一方向圧力シールを提供します。材料は、ニトリルゴム(NBR)またはFluorOrubber(FKM)です。
Ruichen Sealのさまざまなシールには、高い寿命、低摩擦、優れたシーリング、コンパクトな構造の特徴があります。それらは、油圧システム、空気圧装置、水圧機器、高圧回転機械、産業用具などで広く使用されており、信頼性の高い高性能シーリングソリューションを提供します。
製品機能とアプリケーション:
製品機能:
長寿命:高品質の材料と構造設計はサービスの寿命を延ばします。
低摩擦:PTFEおよびPU材料は、ランニング抵抗を減らし、効率を向上させます。
優れたシーリング:特別なリップとオイル貯蔵タンクの設計により、優れたシーリング性能が確保されます。
コンパクト構造:さまざまな設置環境に適した小さなスペース設計。
広く適用可能:油圧、空気圧、水圧と高圧、高速、低速、その他の労働条件に適しています。
アプリケーション領域:
油圧システム、空気圧装置、水圧機器。
高圧回転機械、低速重量装備。
産業機器、エンジニアリング機械、自動車および航空宇宙およびその他の分野。
材料の選択:
1.一致するOリング材料を選択できます:R01ニトリルラバー(NBR)、R02 Fluorubber(FKM)など。
2。シーリングリング材料:標準材料PTFE4、その他のオプション材料PTFE1、PTFE2、PTFE3、PTFE5。
RCX18素材:HPU。
構造図

注文モデルRC2052-80X91X4.2-PTFE3-RO1モデル-DXDXL-Material Code Order Model RCX17-80X91X4.2-HPU Model-DXDXL-Material Code
注文モデルRC2054-80X69X4.2-PTFE3-RO1モデル-D*D*L-マテリアルコード注文モデルRCX18-80X69X4.2-HPUモデル-D*D*L-マテリアルコード
RDIインストール寸法
| DF8 | DH9 | L D10 | H | ギャップs | |
| 0-10MPA | 10-36MPA | ||||
| 50-79 | D+10 | 5 | 4.5 | 0.4-0.3 | 0.3-0.25 |
| 80-109 | D+13.8 | 7.5 | 7 | 0.45-0.35 | 0.35-0.3 |
| 110-299 | D+20 | 10 | 9.5 | 0.55-0.45 | 0.45-0.35 |
| 300-600 | D+24 | 13 | 12.5 | 0.6-0.55 | 0.55-0.45 |
| > 600 | 当社に相談してください | ||||
面取りの長さ
| ロッドの直径の範囲 | 面取りの長さE≥ |
| 50-56 | 6 |
| 57-100 | 7 |
| 101-290 | 10 |
| 291-600 | 15 |
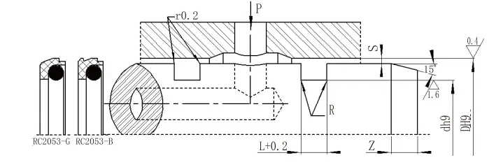
RDA インストール寸法
| DH8 | DH9 | L D10 | H | ギャップs | |
| 0-10MPA | 10-36MPA | ||||
| 50-124 | D-16 | 8 | 7.5 | 0.45-0.35 | 0.35-0.3 |
| 125-199 | D-20 | 10 | 9.5 | 0.55-0.45 | 0.45-0.35 |
| 200-600 | D-26 | 13 | 12.5 | 0.6-0.55 | 0.55-0.45 |
面取りの長さ
| ロッドの直径の範囲 | 面取りの長さE≥ |
| 50-95 | 7 |
| 96-190 | 10 |
| 191-300 | 12 |
| 301-600 | 15 |
RCSタイプPT FE発電オイルシール(PTFEオイルシール)
RC2057タイプフルPT FEオイルシール
RCSタイプPTFE発電オイルシールは、金属フレーム、PTFEシーリングリップ、および内部静的シールで構成されています。タイプ、Bタイプ、Cタイプ、Dタイプなどに分割されます。RC2057タイプフルPTFEオイルシールは、特に従来のオイルシールが要件を満たすことができない場合に適しています。特徴:
1。化学腐食抵抗
2。広い温度範囲
3。低潤滑および油なしの潤滑に適しています
4。最小消費電力を達成するための低摩擦
5。高ライン速度に適しています
6.長期的なシャットダウン後の起動に対する抵抗はありません。
7。強化されていない回転シャフトに適しています(PTFEリップの妥当な選択)
8。圧力が高い場合に適しています
ⅰ。典型的なアプリケーション:
ロータリーコンプレッサー、ネジコンプレッサー、トランスミッション/ギアボックス、ブロワー、エンジン、工作機械ポンプ、油圧モーター、遠心分離機など。
ⅱ。交配面の硬度要件
推奨硬度:HRC≥58。必要な硬度は多くの要因に関連しています。柔らかい回転シャフトは、低圧および低速の状況にも適用できます。 PTFE6リッププレートは、ソフトメタルに推奨されます。
ⅲ。交配面の品質要件
RA = 0.2-0.63 A RZ = 1-3um rmax = 1-4um
| 断面形状 | モデル | プレッシャー (MPA) | 温度 (℃) | スピード (MS) | 中くらい |
|
RCS-A | 0.5 | -35〜+200 | 40 | オイル、ガス、水など |
|
RCS-B | 2 | -35〜+200 | 20 | オイル、ガス、水など |
|
RCS-C | 1 | -35〜+200 | 20 | オイル、ガス、水など |
|
RCS-D | 2 | -35〜+200 | 20 | オイル、ガス、水など |
|
RC2057-A | 0.5 | -35〜+200 | 30 | ほとんどすべてのメディア |
|
RC2057-B | 2 | -35〜+200 | 20 | ほとんどすべてのメディア |
ⅳ。流体パワースパイラルフローパターン:
RCS-Dタイプは、スパイラルフローパターン構造を備えたリッププレートを採用して、シーリング能力を向上させます。回転シャフトは、一方向でのみ回転させることができます。
RC20658 インストール寸法
| モデル | DF8 | DH9 | L D10 | sマックス |
| RC2065A | 400-3000 | D+16.8 | 15.1 | 1.2 |
| RC2065 | 400-3000 | D+17.5 | ||
| > 3000 | 当社に相談してください | |||
面取りの長さ
| ロッドの直径の範囲 | 面取りの長さE≥ |
| 400-1000 | 15 |
| 1001-2000 | 20 |
| 2001-3000 | 25 |
仕様と寸法:
| D F8 標準 RC2051 | D F8 ライト負荷RC2051-Q | D F8 重い負荷 RC2051-Z | D H9 | L+0.2 | L1 | rマックス | Sマックス | Z分 | d0 | ||
| <10mpa | <20MPA | <40mpa | |||||||||
| - | 5〜15.9 | - | D+4.5 | 3。1 | 2.8 | 0.3 | 0.3 | 0.2 | 0。15 | 3 | 1.8 |
| 5〜15.9 | 16〜38.9 | - | D+6.3 | 4.0 | 3.7 | 0.4 | 0.4 | 0.25 | 0。15 | 4 | 2.65 |
| 16〜38.9 | 39〜107.9 | 5〜15.9 | D+8.2 | 5.2 | 4.7 | 0.4 | 0.4 | 0.25 | 0.2 | 5 | 3.55 |
| 39〜107.9 | 108〜670.9 | 16〜38.9 | D+11.7 | 7.6 | 7。1 | 0.5 | 0.5 | 0.3 | 0.2 | 7 | 5.30 |
| 108〜670.9 | 671 ~999 | 39〜107.9 | D+15.5 | 9.6 | 8.9 | 0.6 | 0.6 | 0.35 | 0.25 | 10 | 7.00 |
| 671 ~999 | 1000〜1599 | 108〜670.9 | D+19.4 | 12。1 | 11.3 | 0.7 | 0.7 | 0.5 | 0.3 | 12 | 8.60 |
| 1000〜1599 | ≥1600 | 671 ~999 | D +22 | 14.8 | 13.5 | 0.8 | 0.8 | 0.6 | 0.4 | 15 | 10.0 |
| ≥1600 | - | 1000〜1599 | D+26 | 17.8 | 16.3 | 1.0 | 1.0 | 0.7 | 0.6 | 20 | 12.0 |
注:1。シャフト直径≤30mmの場合、開いたグルーブを使用することをお勧めします。光負荷タイプは、閉じた溝に簡単に取り付けられます。
2。回転シャフトの表面硬度はHRC> 58であることをお勧めします。
RC2053
| 開口部の範囲 D H9 | 溝の直径 D H9 | 溝の幅 L+0.2 | シールの高さ L1 | 丸い角 rマックス | 放射状クリアランスs | 面取り z分 | Oリングワイヤの直径 D0 | ||
| <10mpa | <20MPA | <40mpa | |||||||
| 8〜12 | D-4.5 | 3.1 | 2.8 | 0.3 | 0.3 | 0.2 | 0.15 | 3 | 1.8 |
| 13〜24 | D-6.3 | 4 | 3.7 | 0.4 | 0.4 | 0.25 | 0.15 | 4 | 2.65 |
| 25〜51 | D-8.2 | 5.2 | 4.7 | 0.4 | 0.4 | 0.25 | 0.2 | 5 | 3.55 |
| 52〜127 | D-11.7 | 7.6 | 7.1 | 0.5 | 0.5 | 0.3 | 0.2 | 7 | 5.30 |
| 128〜500 | D-15.5 | 9.6 | 8.9 | 0.6 | 0.6 | 0.35 | 0.25 | 10 | 7.00 |
| 501〜1600 | D-19.4 | 12.1 | 11.3 | 0.7 | 0.7 | 0.5 | 0.3 | 12 | 8.6 |
注:1。シャフト直径≤30mmの場合、開いた溝をお勧めします。
RC2052
| シャフトの直径範囲 D F8 | 溝の直径 D H9 | 溝の幅 l+0.2 | 放射状クリアランスsマックス | 丸い角 rマックス | 面取り z分 | |
| 0〜10mpa | 10〜20mpa | |||||
| 6〜18 | D+4.9 | 2.2 | 0.15 | 0.1 | 0.4 | 2 |
| 19〜37 | D+7.5 | 3.2 | 0.2 | 0.15 | 0.6 | 3 |
| 38〜199 | D+11.0 | 4.2 | 0.25 | 0.2 | 1.0 | 4 |
| 200〜255 | D+15.5 | 6.3 | 0.3 | 0.25 | 1.3 | 5 |
| 256〜649 | D+21.0 | 8.1 | 0.3 | 0.25 | 1.8 | 7 |
| 650〜1500 | D+28.0 | 9.5 | 0.45 | 0.3 | 2.0 | 8 |
注:1。シャフト直径≤30mmの場合、開いた溝をお勧めします。
2。30 MPaを超える圧力の場合、シールルート領域はH8/F8許容範囲を使用します。
RC2054| 開口部の範囲 D H9 | 溝の直径 D H9 | 溝の幅 l+0.2 | 放射状クリアランスsマックス | 丸い角 rマックス | 面取り z分 | |
| 0〜10mpa | 10〜20mpa | |||||
| 8〜39 | D-4.9 | 2.2 | 0.15 | 0.1 | 0.4 | 2 |
| 40〜79 | D-7.5 | 3.2 | 0.2 | 0.15 | 0.6 | 3 |
| 80〜132 | D-11.0 | 4.2 | 0.25 | 0.2 | 1.0 | 4 |
| 133〜329 | D-15.5 | 6.3 | 0.3 | 0.25 | 1.3 | 5 |
| 330〜669 | D-21.0 | 8.1 | 0.3 | 0.25 | 1.8 | 7 |
| 670〜1500 | D-28.0 | 9.5 | 0.45 | 0.3 | 2.0 | 8 |
| プロフィール | モデル | プレッシャー (MPA) | 温度 (℃) | 参照速度 (MS) |
参照PV値 MPA.M/s | メディア |
|
RC2051-B | ≤70(標準) | -35〜+100(O-ringNBRの一致) | <2 | ≤5 | 油圧オイル、エマルジョン、水、ガスなど。 油圧オイル、エマルジョン、水、ガスなど。 |
| ≤30(高速) | -20〜+200(一致Oリングfkm) | <6 | ||||
|
RC051-G | ≤70(標準) | -35〜+100(O-ringNBRの一致) | <2 | ≤5 | 油圧オイル、エマルジョン、水、ガスなど。 油圧オイル、エマルジョン、水、ガスなど。 |
| ≤30(高速) | -20〜+200(一致Oリングfkm) | <6 | ||||
|
RC2053-B | ≤70(標準) | -35〜+100(O-ringNBRの一致) | <2 | ≤5 | 油圧オイル、エマルジョン、水、ガスなど。 油圧オイル、エマルジョン、水、ガスなど。 |
| ≤30(高速) | -20〜+200(一致Oリングfkm) | <6 | ||||
|
RC2053-G | ≤70(標準) | -35〜+100(O-ringNBRの一致) | <2 | ≤5 | 油圧オイル、エマルジョン、水、ガスなど。 油圧オイル、エマルジョン、水、ガスなど。 |
| ≤30(高速) | -20〜+200(一致Oリングfkm) | <6 | ||||
|
RC2052 | ≤40 | -35〜+100(O-ringNBRの一致) | ≤2 | ≤2.5 | 油圧オイル、エマルジョン、水、ガスなど。 油圧オイル、エマルジョン、水、ガスなど。 |
| -20〜+200(一致Oリングfkm) | ||||||
|
RCX17 | ≤20 | -35〜+100 | ≤0.5 | - | 油圧オイル、エマルジョン、水、ガスなど。 |
|
RC2054 | ≤40 | -35〜+100(O-ringNBRの一致) | ≤2 | - | 油圧オイル、エマルジョン、水、ガスなど。 油圧オイル、エマルジョン、水、ガスなど。 |
| -20〜+200(一致Oリングfkm) | ||||||
|
RCX18 | ≤20 | -35〜+100 | ≤0.5 | - | 油圧オイル、エマルジョン、水、ガスなど。 |
|
RDI | <36 | -35〜+100 | <0.5 | - | 油圧オイル、エマルジョン、水、ガスなど。 |
|
RDA | <36 | -35〜+100 | <0.5 | - | 油圧オイル、エマルジョン、水、ガスなど。 |
|
RCS-A | 0.5 | -35〜+200 | 40 | ≤6 | 油、水、ガスなど |
|
RCS-B | 2 | -35〜+200 | 20 | ≤1 | 油、水、ガスなど |
|
RCS-C | 1 | -35〜+200 | 20 | ≤6 | 油、水、ガスなど |
|
RCS-D | 2 | -35〜+100 | 20 | ≤6 | 油、水、ガスなど |
|
RC2057-A | 0.5 | -35〜+200 | 30 | ≤6 | ほとんどすべてのメディア |
|
RC2057-B | 2 | -35〜+200 | 20 | ≤6 | ほとんどすべてのメディア |
|
RC2065 | 1 | -35〜+200 | 6 | ≤1 | 油圧オイル、エマルジョン、水、グリースなど。 |































































































住所
中国山東省青島市城陽区東流亭工業団地瑞城路1号