|
圧力/MPa |
温度 / ℃ |
速度/m/s |
中くらい |
|
≤40 |
-35 ~ +100 (適合する NBR O リングを使用) |
≤2 |
作動油、エマルジョン、水、ガスなど |
-20~+200(適合OリングFKM使用時) |
1. 適切な O リング材質には、R01 ニトリルブタジエンゴム (NBR)、R02 フッ素ゴム (FKM) などが含まれます。
2. シールリングの材質: 標準材質 PTFE3 および PTFE4。他のオプションの材料には PTFE1、PTFE2、PTFE5 などがあります。
Ruichenは原材料の最初から独立した研究開発と生産を実施し、製品チェーン全体の管理を実現しました。
1. エンジニアリングプラスチック・複合材料:ポリテトラフルオロエチレン(PTFE)を核に、配合、焼結、成形までを一貫して行い、各種充填改質複合材料チューブ、ロッドを自社生産し、シールへの精密加工を行っております。 これにより、材料特性の安定性とカスタマイズ性が確保されます。
2. 高機能ポリウレタンエラストマー:プレポリマーの鋳造からスタートし、耐摩耗性、耐圧性、耐加水分解性に優れた高品質のポリウレタンパイプ・ロッド材を自社生産し、各種シールに加工しております。
注文例
注文モデル RC2054—80×69×4.2—PTFE3—R01 モデル-D*d*L- 材料コード 注文モデル RCX18—80×69x4.2—HPU モデル-D*d*L- 材料コード
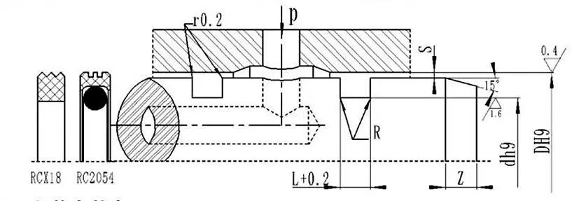
仕様およびパラメータ表(パラメータ範囲内の任意の仕様が利用可能)
|
絞り範囲 DH9 |
トレンチ直径 dh9 |
トレンチ幅 L+0.2 |
ラジアルすきま Smax |
丸い角 Rmax |
面取り ズミン |
|
|
0~10MPa |
10~20MPa |
|||||
|
8~39 |
D-4.9 |
2.2 |
0.15 |
0.1 |
0.4 |
2 |
|
40~79 |
D-7.5 |
3.2 |
0.2 |
0.15 |
0.6 |
3 |
|
80~132 |
D-11.0 |
4.2 |
0.25 |
0.2 |
1.0 |
4 |
|
133~329 |
D-15.5 |
6.3 |
0.3 |
0.25 |
1.3 |
5 |
|
330~669 |
D-21.0 |
8.1 |
0.3 |
0.25 |
1.8 |
7 |
|
670~1500 |
D-28.0 |
9.5 |
0.45 |
0.3 |
2.0 |
8 |
|
D |
d |
L |
D |
d |
L |
D |
d |
L |
D |
d |
L |
|
8 |
3.1 |
2.2 |
50 |
42.5 |
3.2 |
170 |
154.5 |
6.3 |
380 |
359.0 |
8.1 |
|
10 |
5.1 |
2.2 |
55 |
47.5 |
3.2 |
180 |
164.5 |
6.3 |
390 |
369.0 |
8.1 |
|
12 |
7.1 |
2.2 |
60 |
52.5 |
3.2 |
190 |
174.5 |
6.3 |
400 |
379.0 |
8.1 |
|
14 |
9.1 |
2.2 |
63 |
55.5 |
3.2 |
200 |
184.5 |
6.3 |
420 |
399.0 |
8.1 |
|
15 |
10.1 |
2.2 |
65 |
57.5 |
3.2 |
210 |
194.5 |
6.3 |
450 |
429.0 |
8.1 |
|
16 |
11.1 |
2.2 |
70 |
62.5 |
3.2 |
220 |
204.5 |
6.3 |
480 |
459.0 |
8.1 |
|
18 |
13.1 |
2.2 |
75 |
67.5 |
3.2 |
230 |
214.5 |
6.3 |
500 |
479.0 |
8.1 |
|
20 |
15.1 |
2.2 |
80 |
69.0 |
4.2 |
240 |
224.5 |
6.3 |
520 |
499.0 |
8.1 |
|
22 |
17.1 |
2.2 |
85 |
74.0 |
4.2 |
250 |
234.5 |
6.3 |
550 |
529.0 |
8.1 |
|
24 |
19.1 |
2.2 |
90 |
79.0 |
4.2 |
260 |
244.5 |
6.3 |
600 |
579.0 |
8.1 |
|
25 |
20.1 |
2.2 |
95 |
84.0 |
4.2 |
270 |
254.5 |
6.3 |
630 |
609.0 |
8.1 |
|
28 |
23.1 |
2.2 |
100 |
89.0 |
4.2 |
280 |
264.5 |
6.3 |
650 |
629.0 |
8.1 |
|
30 |
25.1 |
2.2 |
105 |
94.0 |
4.2 |
290 |
274.5 |
6.3 |
670 |
642.0 |
9.5 |
|
32 |
27.1 |
2.2 |
110 |
99.0 |
4.2 |
300 |
284.5 |
6.3 |
700 |
672.0 |
9.5 |
|
35 |
30.1 |
2.2 |
115 |
104.0 |
4.2 |
310 |
294.5 |
6.3 |
750 |
722.0 |
9.5 |
|
36 |
31.1 |
2.2 |
120 |
109.0 |
4.2 |
320 |
304.5 |
6.3 |
800 |
772.0 |
9.5 |
|
38 |
33.1 |
2.2 |
125 |
114.0 |
4.2 |
330 |
309.0 |
8.1 |
1000 |
972.0 |
9.5 |
|
40 |
32.5 |
3.2 |
130 |
119.0 |
4.2 |
340 |
319.0 |
8.1 |
|
|
|
|
42 |
34.5 |
3.2 |
140 |
124.5 |
6.3 |
350 |
329.0 |
8.1 |
|
|
|
|
45 |
37.5 |
3.2 |
150 |
134.5 |
6.3 |
360 |
339.0 |
8.1 |
|
|
|
|
48 |
40.5 |
3.2 |
160 |
144.5 |
6.3 |
370 |
349.0 |
8.1 |
|
|
|
注: 必要な仕様はここには記載されていません。当社までご連絡ください。最大直径2800mmまでの製品を取り揃えております。



住所
中国山東省青島市城陽区東流亭工業団地瑞城路1号