星型のシーリングリングは、Xのような形状の4唇シールであるため、Xリングとも呼ばれます。これは、Oリングに基づいて改善と強化です。その断面寸法は、American AS568A標準のOリングの寸法と同じであり、基本的にOリングの使用を置き換えることができます。
Oリングと比較して、星型のシーリングリングは、シーリングリップの間に潤滑腔を形成します。シーリング唇は、摩擦抵抗が小さく、抵抗が小さくなります。フラッシュエッジは断面の凹状にあるため、シーリング効果の方が優れています。非円形の断面は、往復運動中のローリング現象を効果的に回避します。
星型のシーリングリングのアプリケーション範囲は非常に広いです。温度、圧力、および中程度に応じて適切な材料を選択します。星型のシーリングリングを指定されたアプリケーションに適応させるには、すべての作業パラメーター間の相互制約を考慮する必要があります。アプリケーションの範囲を決定する場合、ピーク温度、連続作業温度、および動作サイクルを考慮する必要があります。回転する場合には、摩擦熱によって引き起こされる温度上昇も考慮する必要があります。
このX字型シーリングリングは、自己明るいシーリング要素です。初期状態のシーリング力は、材料の圧縮量と硬度に依存します。システムの圧力が増加すると、シーリングリングの圧縮変形が増加し、総シーリング力が増加し、信頼できるシールが形成されます。
製品機能とアプリケーション:
星型のシーリングリングの選択
静的シーリングまたは往復線形運動
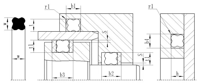
(1)穴シーリング:星型のシーリングリングの内径は、溝と互換性があるか、溝の底直径の約2%未満と互換性がなければなりません。事前圧縮によって生成されたプレ圧縮力は、シールリングのねじれや転がりを効果的に防ぐことができるためです。
(2)シャフトシーリング:星型シーリングリングの内径は、シャフトの外径と等しいか、1%以内に制御できるものと等しく、またはわずかに大きくする必要があります。シールリングの設置が簡単で、サービス寿命が長くなります。
ロータリーシーリング
星型のリングの内径は、シールするシャフトの直径よりも約2〜5%大きいです。シールリングは回転で使用されると摩擦と熱を生成し、加熱後にエラストマーが収縮するため(ジュール加熱効果)。シールリングの潤滑と信頼できる動作を確保するために、シャフトの直径よりも大きな内径の星型のリングを選択する必要があります。一般に、より小さな断面を備えたシールリングは静的シーリングのニーズを満たすことができ、逆に、より大きな断面を備えたシールリングを使用して、動的シーリングの要件を満たす必要があります。高い圧力または大きな押出ギャップの場合、より高い硬度を持つゴム材料を選択する必要があります。最良の方法は、PTFEバッキングリングを追加して、高圧押出による損傷を防ぐことです。
材料
材料は通常、ショーA70ニトリルゴムNBRです。他の材料は、Oリングに使用される材料を参照できます。
| 表2-1パフォーマンスパラメーター | ||||
| 技術パラメーター | ダイナミックシール | 静的シール | ||
| 往復運動 | 回転運動 | |||
| 作業圧力 (MPA) | リングを保持します | 30 | 15 | 40 |
| リングを保持せずに | 5 | - | 5 | |
| 速度(m/s) | 0.5 | 2.0 | - | |
| 温度(℃) | 一般的な機会:-30 ℃〜+110℃ | |||
| 特別材料:-60 ℃〜+200℃ | ||||
| 回転の機会:-30℃〜+80℃ | ||||
スターリングが推奨するグルーブデザイン
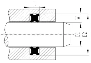
| 星型シーリングリングリング-Xリング(American Standard AS568A) | |||||||||
| ピストンロッドシール(シャフト用) | ピストンシール(穴) | ||||||||
![]() |
![]() |
||||||||
| 製品モデル | 仕様と寸法 | ロッドシール | ピストンシール | スロット幅 |
|
||||
| 内径DN | 断面直径CS | D1 | D2 | D3 | D4 | L | W | ||
| AS001 AS002 AS003 |
0.74 1.07 1.42 |
1.02 1.27 1.52 |
|
|
|
|
|
|
|
| AS004 AS005 AS006 |
1.78 2.57 2.9 |
1.78 1.78 1.78 |
3 | 6.1 | 6 | 2.9 | 2 | 1.55 | |
| AS007 AS008 AS009 |
3.68 4.47 5.28 |
1.78 1.78 1.78 |
3.5 4.5 5 |
6.6 7.6 8.1 |
7 8 9 |
3.9 4.9 5.9 |
2 2 2 |
1.55 1.55 1.55 |
|
| AS010 AS011 AS012 |
6.07 7.65 9.25 |
1.78 1.78 1.78 |
6 8 9 |
9.1 11.1 12.1 |
10 11 13 |
6.9 7.9 9.9 |
2 2 2 |
1.55 1.55 1.55 |
|
| AS013 AS014 AS015 |
10.82 12.42 14 |
1.78 1.78 1.78 |
11 13 14 |
14.1 16.1 17.1 |
15 17 18 |
11.9 13.9 14.9 |
2 2 2 |
1.55 1.55 1.55 |
|
| AS016 AS017 AS018 |
15.6 17.17 18.77 |
1.78 1.78 1.78 |
16 17 19 |
19.1 20.1 22.1 |
20 21 23 |
16.9 17.9 19.9 |
2 2 2 |
1.55 1.55 1.55 |
|
| AS019 AS020 AS021 |
20.35 21.95 23.52 |
1.78 1.78 1.78 |
21 22 24 |
24.1 25.1 27.1 |
25 26 28 |
21.9 22.9 24.9 |
2 2 2 |
1.55 1.55 1.55 |
|
| AS022 AS023 AS024 |
25.12 26.7 28.3 |
1.78 1.78 1.78 |
26 27 29 |
29.1 30.1 32.1 |
30 31 33 |
26.9 27.9 29.9 |
2 2 2 |
1.55 1.55 1.55 |
|

住所
中国山東省青島市城陽区東流亭工業団地瑞城路1号